Nintendo патентует надувную подушку для верховой езды.

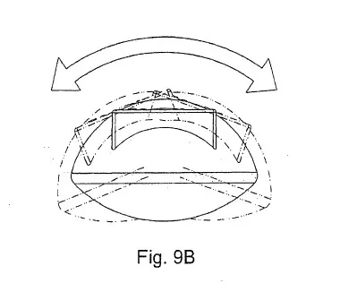
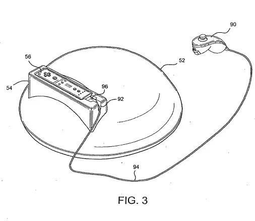
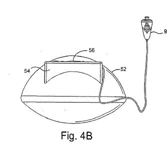
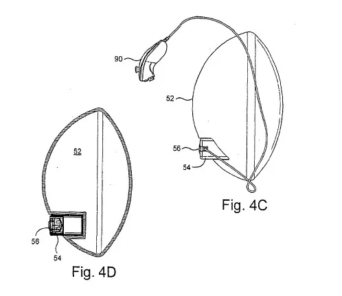
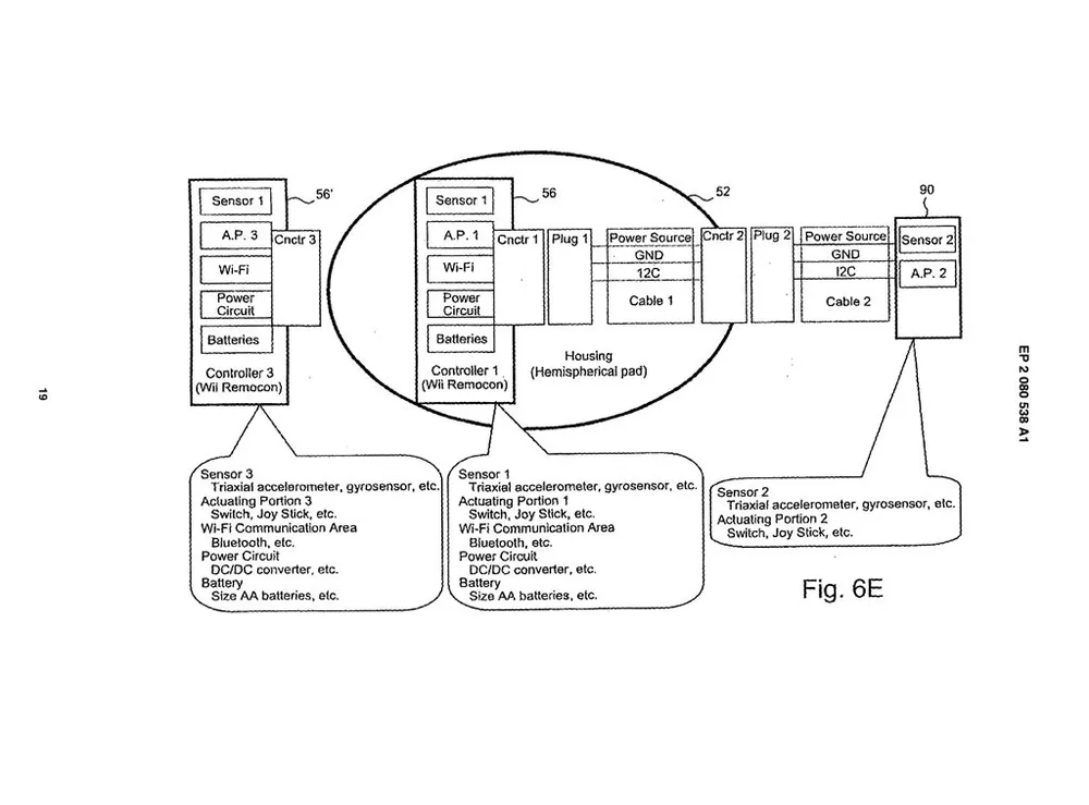
Если вы думали что Wii Баланс это самое уникальное что есть в мире контроллеров, вам стоит подождать до тех пор, пока не вы выйдет Wii Horseback Riding Saddle. И это не шутка. В надувной подушке имеется карман для размещения контроллера Wii, который используется для перемещения по игровому миру (с помощью акселерометра). игроку стоит только попрыгать на подушке чтобы заставить лошадку поскакать. Также в руки игрокам дается контроллер имитирующий конскую борозду, с помощью него игроки будут держать равновесие.

пишут что материалом подушек может быть пенопласт, но все же склоняются больше к надувным подушкам, так как их можно надувать и сдувать, что экономит место.

В базе данных европейских патентов также описывается возможная игра с этим контроллером, это изображено на первой картинке, голова коня и тропа по которой ему следует скакать.

В Nintendo говорят что также этот контроллер может использоваться и для езды на других животных: быки, верблюды, слоны, драконы.

Что-то мне подсказывает что игры для этого контроллера будут выходить как детские, так и 18+ XXX, порно индустрия такого не пропустит ;-)

источник