Раскопки на десктопе. Лирический экскурс в историю игрового железа

Этот текст был написан мной для неслучившегося интернет-проекта в 2006 году и пылился в моей электрической почте семь лет. Совершенно случайно я вспомнил о нем и решил опубликовать на самой свободной и демократичной игровой площадке - на Gamer.ru. Не пропадать же творению зря? Надеюсь, вам понравится Александр Юрьевич образца 2006 года.

Ленин не знал

«Пока народ безграмотен, важнейшими из искусств для нас являются кино (с попкорном) и цирк (с конями)» - говаривал, бывало, Владимир Ильич, задумчиво поглаживая 1/6 часть суши на глобусе. Случись Великая Октябрьская революция всего на сотню лет позже, прозорливый пролетариадский вождь наверняка бы упомянул в своей знаменитой фразе еще один способ эффективно убить время и улучшить настроение – компьютерные игры. Вот о них, а точнее об истории их появления, мы и поговорим.

Владимир Ильич был не в курсе, но наверняка бы порадовался, узнав, что самым популярным жанром в России является «любая игра, где русские мочат кого-то…. Кого угодно»

В отличие от истории литературы или, скажем, истории изобразительного искусства, история компьютерных игр лишена какого-либо пафоса и величия. Это хронология случайных открытий, судьбоносных ошибок и использования разнообразных предметов совсем не по назначению.

Оно шевелится!

Началось все аж в 1931 году, когда Джозеф Генри (Joseph Henry), профессор натуральной философии, преподававший в Олбанской академии, вкатился в лекционную аудиторию с явным намерением удивить студентов.

Сэр Джозеф Генри. Человек, которому мы многим обязаны. Очень любил развлекать студентов.

Сэр Генри показал своим ученикам простой опыт, который все вы наверняка видели, если, конечно же, не прогуливали среднюю школу. Опыт заключался вот в чем: между дужек (или как там они называются?) железной подковы, обмотанной проводом, профессор поместил свободно вращающийся стержень, а затем пустил электрический ток по проводке. При этом стержень, повернувшись под действием электромагнитного поля, звякнул о подкову, студенты дружно ахнули, а довольный Генри просиял и наконец-то осознал себя светилом науки и движителем прогресса. Так был изобретен электромеханический прибор «реле», который впоследствии широко применялся в технике – например, в телеграфных аппаратах.

Одна из экспериментальных установок Генри, чудом уцелевшая и не смолотая в пыль жерновами времени. Знакомьтесь, перед вами электромагнит, созданный полтораста лет назад.

Нас же с вами интересует вполне определенная техника – вычислительная. С вычислительной техникой в течение довольно долгого времени на планете было туго: несчастные бухгалтеры сбивали руки в кровь о счеты, пытаясь свести дебет с кредитом и одолеть, наконец, годовой отчет. Математики и астрономы, готовясь взорвать ученый мир новым открытием, вынуждены были нанимать целую банду подмастерьев, вооруженную счетами – иначе выполнение ключевых расчетов могло затянуться на годы.

Современные реле выглядят не так шокирующее, как агрегаты Джозефа Генри. Можете выдохнуть.

Механические счетные машины, изобретенные в XVII веке, частично облегчили труд бедолаг-счетоводов, зато наполнили их жизнь непрекращающимся стрекотом – зубчатые колеса и червячные передачи прото-арифмометров немилосердно гремели и лязгали. При этом арифмометры были способны выполнять лишь простейшие операции, что и отражено в их названии.

Счетная машина Лейбница. Настоящий динозавр из рода арифмометров.

Коробка с мусором

Лишь в 1937 году произошел прорыв в развитии вычислительной техники. Как и полагается настоящему прорыву «старой закваски», осуществлен он был сумбурно, на коленке и из такого барахла, что смеялись даже распоследние бомжи. Случилось так, что некий сотрудник компании Bell Telephone Laboratories по имени Джордж Роберт Стибиц (George Robert Stibitz), потомственный математик и, как выяснилось впоследствии, технический гений, обратил свое внимание на электромагнитные реле и задумал применить их для создания счетной машины нового образца. В момент, когда его осенило, Стибиц находился дома, где, как вы догадываетесь, подходящего оборудования для воплощения идеи в жизнь не оказалось. Это, впрочем, не остановило Стибица - он загорелся идеей, словно подросток, стащивший коробку с реагентами из школьного кабинета химии и зависший над ближайшей лужей. Решив не дожидаться начала следующего рабочего дня, Джордж начал сборку нового вычислителя прямо у себя на кухне. В ход пошли кусок доски, жестяные обрезки, коробка из-под трубочного табака, две лампочки от карманного фонаря, два реле и провода. Очень скоро из сущего гуано получилась примитивная электросхема, которая – о чудо! - могла складывать две двоичные цифры и показывать результат сложения. Свое творение Стибиц назвал Model K – в честь кухни (kitchen), где, собственно, и состоялось открытие.

Джордж Стибиц, кухонных дел мастер. Слева от гения лежит воспроизведенная в лабораторных условиях Model K.

История умалчивает, о чем думало и что именно говорило Стибицу начальство, когда изобретатель на следующий день демонстрировал ему коробку с лампочками, набитую мусором, и как там дело обошлось без машины с санитарами. Однако факт остается фактом – начало электронным вычислительным машинам было положено. На кухне, среди горы хлама.

Model K – репродукция, созданная Стибицом для одного из музеев. К сожалению, оригинальный экземпляр таки сгинул в мусорном бачке, и изображений не сохранилось.

Коллеги поначалу к изобретению Стибица отнеслись достаточно прохладно: складывать двоичные числа сотрудники лаборатории умели и сами. Зачем бы доверять такое пустяковое занятие нелепым механизмам? Тем не менее, впоследствии руководству компании хватило фантазии, дабы осознать, что на основе Model K можно создать счетный агрегат, способный производить более сложные операции и избавить тем самым яйцеголовую братию от арифметической рутины. Таким вот образом в 1940 году под руководством Стибица в эксплуатацию была введена «Вычислительная машина, работающая с комплексными числами» (Complex Number Computer, CNC), так же известная как Model I. «Электрические» счеты состояли из нескольких сотен реле, занимали целую комнату и обладали царским быстродействием – выполняли 1 операцию в минуту.

Девушка-оператор за пультом управления монструозной Model I. Операторам ЭВМ в то время приходилось и вправду работать, поскольку авторы программ «Пасьянс» и «Цветные линии» еще не родились.

Люди и ракеты

Возможно, «электрические счеты» еще долгое время так и оставались бы, по сути, всего лишь счетами, однако начавшаяся в 1939-м Вторая мировая война привнесла свои коррективы в историю вычислительной техники. В декабре 1941 г. по заказу вооруженных сил США компания Bell Telephone Laboratories начала разработку прибора управления артиллерийским зенитным орудием (ПУАЗО).

Эпоха телекоммуникаций началась со звонка, что и отражено на старом-престаром логотипе «Белловских лабораторий».

Поскольку у Bell Telephone Laboratories по независящим от нее причинам не было собственного военного полигона, для проверки точности работы устройства в его электрическом «мозгу» моделировалась реальная боевая ситуация. Это требовало большого объема вычислений, которые предполагалось производить вручную. Естественно, обленившиеся и избалованные деятели науки, уже привыкшие к тому, что все нудные расчеты за них производит Model I, предложили разработать еще одну, более мощную вычислительную машину, способную удовлетворить нужды ПУАЗО. Сказано – сделано: всего спустя два года (ничтожный срок по тем временам!) в лаборатории Белла заработала Model II – программируемая ЭВМ, способная высчитывать данные реальных боевых ситуаций. С некоторой натяжкой мы можем назвать эту систему первым из известных нам боевых симуляторов, однако игрой творение, созданное по заказу американской военщины, не являлось.

На самом деле, мы не в курсе, как в точности выглядел ПУАЗО, разработанный в Bell Labs, поскольку это информация не раскрывалась. Однако, дабы вы получили хоть какое-то представление о том, что из себя представляет этот адский прибор, мы публикуем фотографию ПУАЗО для американской системы зенитного огня времен Второй мировой.

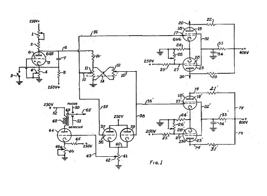
Тем не менее, именно идея с моделированием стрельб легла в основу того, что сейчас принято называть компьютерными играми. В 1947 году граждане США Томас Т. Голдсмит мл. и Истл Рэй Манн (Thomas T. Goldsmith Jr и Estle Ray Mann) создали устройство под названием Cathode-Ray Tube Amusement Device. «Увеселительный девайс» использовал вывод графической информации на экран, и – что следует отметить особо – был запрограммирован на воссоздание определенной ситуации, в которой были заложены не только начальные данные, но и условия выигрыша.

Принципиальная схема «электрического вертепа» Голдсмита и Манна. К сожалению, других изображений увеселительного устройства нам обнаружить пока не удалось.

Суть квази-игры, как уже упоминалось выше, была военной до спазмов в селезенке и вполне отвечала идеологии надвигающейся «холодной войны»: игрок старался поразить ракетами несколько целей, предварительно задав параметры полета ракет. Вывод ракетных траекторий осуществлялся с помощью простейшей электронно-лучевой трубки, а сама игровая система состояла из восьми электровакуумных ламп, пришедших на смену реле.

Одна из первых электровакуумных ламп. Выглядит, как обычный светильник из телевизионного треш-сериала про марсиан-коммунистов.

Для ввода данных служили несколько рукояток-резисторов - нынче этот атавизм вы сможете встретить разве что на старых телевизорах, которые не выкинули на свалку из уважения к покойной прабабке. Из-за технического несовершенства используемых приборов система не могла выводить на экран сложные изображения, поэтому ракета выглядела, как мерцающая точка, а цели и вовсе были нарисованы на полупрозрачной кальке, наложенной сверху на дисплей. Вот такое чудо техники образца 47-го.

Примитивная ЭЛТ демонстрирует богатство собственных возможностей. Как тут не прослезиться?

На данный момент «электрический вертеп» Голдсмита и Манна считается первой официально зарегистрированной игровой системой, о чем недвусмысленно свидетельствует патент, полученный ими в Американском Патентном Бюро в 1948 году. Вполне возможно, что и в более ранние годы находились деятели, развлекавшиеся с помощью релейных цепей и радиоламп, однако ни Американскому Патентному Бюро, ни нам ничего о них неизвестно.

продолжение тут:

http://hypestorm.ru/old-testament/