Знай куда бить!

[cut]

В этом и последующих постах я покажу, где у вашего противника самая тонкая броня и что за ней находиться.

ЛЕГКИЕ ТАНКИ СССР

МС-1 / Т-18

Страшная вещь, не так ли?

Схемы бронирования не нашел.

Т-26

Схемы бронирования:

Компановка

Т-19

Тип брони стальная катаная

Лоб корпуса, мм/град. 16

Борт корпуса, мм/град. 16

Корма корпуса, мм/град. 16

Днище, мм 8

Крыша корпуса, мм 8

Лоб башни, мм/град. 16

Борт башни, мм/град. 16

Корма башни, мм/град. 16

Крыша башни, мм 8

БТ-2

Броневая защита, мм

Лоб корпуса 13 мм

Башня 13 мм

Борт корпуса 13 мм

Корма 10 мм

Крыша ? мм

Днище ? мм

1 - Кронштейн направляющего колеса. 2 - Направляющее колесо. 3 - Рычаг ручного тормоза. 4 - Люк для посадки и высадки экипажа .5 - Колонка рулевого управления. 6 - Рычаг переключения передач. 7 - Передний щиток водителя. 8 -Ручной механизм поворота башни. 9 - Переднее управляемое колесо. 10 - Башня. 11 - Погон башни. 12 - Двигатель «Либерти». 13 - Перегородка моторного отделения. 14 - Главный фрикцион. 15 - Коробка перемены передач. 16 - Жалюзи. 17 - Глушитель. 18 - Серьга. 19 - Ведущее колесо гусеничного хода. 20 - Картер бортовой передачи. 21 - Гитара. 22 - Ведущее колесо колесного хода. 23 - Вентилятор. 24 - Масляный бак. 25 - Опорный каток. 26 - Горизонтальная рессора переднего опорного катка. 27 - Переднее управляемое колесо. 28 - Рычаг управления гусеницами. 29 - Бортовой фрикцион.

Т-60

Схема бронирования

Компоновки не нашел.

Кстати: "Немецкие войска прозвали Т-60 «неистребимой саранчой»"

Т-46

БРОНИРОВАНИЕ

Лоб корпуса - 22 мм

Башня - 15-20 мм

Борт - 15 мм

Корма - 8 мм

Днище - 8 мм

Больше ничего не найдено

БТ-7

Продольный разрез танка БТ-7

1-педаль главного сцепления; 2-колонка рулевого механизма; 3-нижняя дверка люка водителя; 4-рычаги управления гусеницами; 5-кулисный механизм перемены скоростей; 6-рулевое колесо; 7-верхняя дверка люка водителя; 8-смотровой прибор водителя; 9-сидение водителя; 10-рукоятка для открывания и закрывания жалюзи; 11-укладка пулеметных дисков на стенке башни; 12-перископ; 13-колпак вентилятора; 14-укладка пулеметных дисков на стенке; 15-подъемный механизм пушки; 16-укладка снарядов на стенке; 17-подножка с педалями и приводом для производства выстрела; 18-сидение пулеметчика; 19-установка рации 71-ТК; 20-колпак над всасывающей трубой; 21-выхлопной коллектор; 22-щиток радиатора; 23-главное сцепление; 24-стартер; 25-отверстия для выхода воздуха при закрытых жалюзи; 26-кормовой бензобак; 27-картер бортовой передачи; 28-коробка перемены передач; 29-двигатель; 30-магнето.

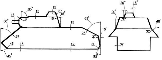
Т-70

Нашел только схему бронирования.

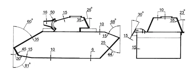
Т-50

А-20

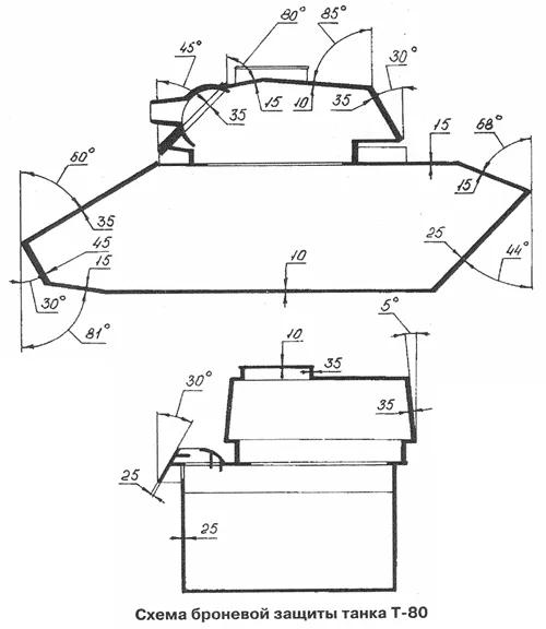
Т-80

Ой нет это не он.

Вот он:

На это легкие танки СССР заканчиваются, а завтра, послезавтра будут немецкие ЛТ.

Если у вас есть чертежи, напишите, добавлю их в пост.

Использованы материалы wikipedia, aviarmor, tankinfo,redtanks, armor.